聯系人:王經理
銷售電話:15610293837
銷售QQ:2962700085
公司地址:山東省濰坊高新區新城街道玉清社區光電路155號濰坊高新區光電產業加速器(一期)1號樓301

PRODUCT CENTER
聯系人:王經理
銷售電話:15610293837
銷售QQ:2962700085
公司地址:山東省濰坊高新區新城街道玉清社區光電路155號濰坊高新區光電產業加速器(一期)1號樓301
森林氣象站又稱森林防火氣象站,森林火險監測站,森林氣象站用于監測和預測發生森林火災的氣象條件,預防森林大火的發生,在發生大火時及時采取措施來防止和控制林火災的蔓延,使財產損失降到低點。
一、森林氣象站產品簡介
森林氣象站又稱森林防火氣象站,森林火險監測站,森林氣象站用于監測和預測發生森林火災的氣象條件,預防森林大火的發生,在發生大火時及時采取措施來防止和控制林火災的蔓延,使財產損失降到低點。
森林火災是森林生態系統的大敵,它能在很短時間內,燒毀大面積的森林和大量的林副產品,破壞林分結構和森林環境,破壞自然界生態平衡,造成氣候失調,水土流失,河流淤塞,洪水泛濫或水源枯竭。通過監測容易發生森林火災區域的風速風向、空氣的溫度、相對濕度、太陽輻射等氣象因子,可以對預防森林大火的發生,在發生大火時也可以指導工作人員進行快速合理的滅火工作,使財產損失降到低點。
該設備由氣象傳感器,采集器,太陽能供電系統,立桿支架,云平臺五部分組成。免調試,可快速布置,廣泛運用于氣象、農業、林業、環保、海洋、機場、港口、科學考察、校園教育等領域。
二、產品特點
1、低功耗采集器:靜態功耗小于50uA
2、標配GPRS聯網、支持擴展藍牙、有線傳輸
3、7寸安卓觸屏,版本:4.4.2、四核Cortex?-A7,512M/4G
4、支持modbus485傳感器擴展
5、太陽能充電管理MPPT自動功率點跟蹤
6、三米碳鋼支架,兩節法蘭盤對接
7、配備聲光報警器
8、人員靠近設備可聲光喊話報警,可短信/電話云通知
9、ABS材質防護箱,耐腐蝕、抗氧化,防水等級IP66
三、技術參數
名 稱 | 測量范圍 | 分 辨 率 | 準 確 度 |
環境溫度 | -50~+100℃ | 0.1℃ | ±0.5℃ |
相對濕度 | 0~100%RH | 0.1% | ±3% RH |
風 向 | 0~360°(16方向) | 1° | ±5° |
風 速 | 0~60m/s | 0.1m/s | ±(0.3+0.03V)m/s |
雨 量 | ≦4mm/min | 0.2mm | ±0.4mm |
光照強度 | 0-200000Lux | 1Lux | ±2% |
大氣壓力 | 10~1100hPa | 0.1hPa | ±0.3hPa |
土壤溫度 | -50~+80℃ | 0.1℃ | ±0.5℃ |
土壤濕度 | 0~100% | 0.1% | ±3%RH |
二氧化碳 | 0-5000PPM | 1PPM | ±40PPM±讀數的3% |
可以根據用戶需求拓展配置:日照時數、蒸發量傳感器、露點溫度傳感器、紫外線輻射傳感器、光合輻射傳感器等各種氣象要素傳感器。 | |||
供電系統 | 市電/太陽能/多電源供電系統可選 | ||
通訊系統 | RS485、USB、無線GPRS、以太網等通訊方式 | ||
專用支架 | 安裝防護箱、傳感器、供電電源、通訊設備等 | ||
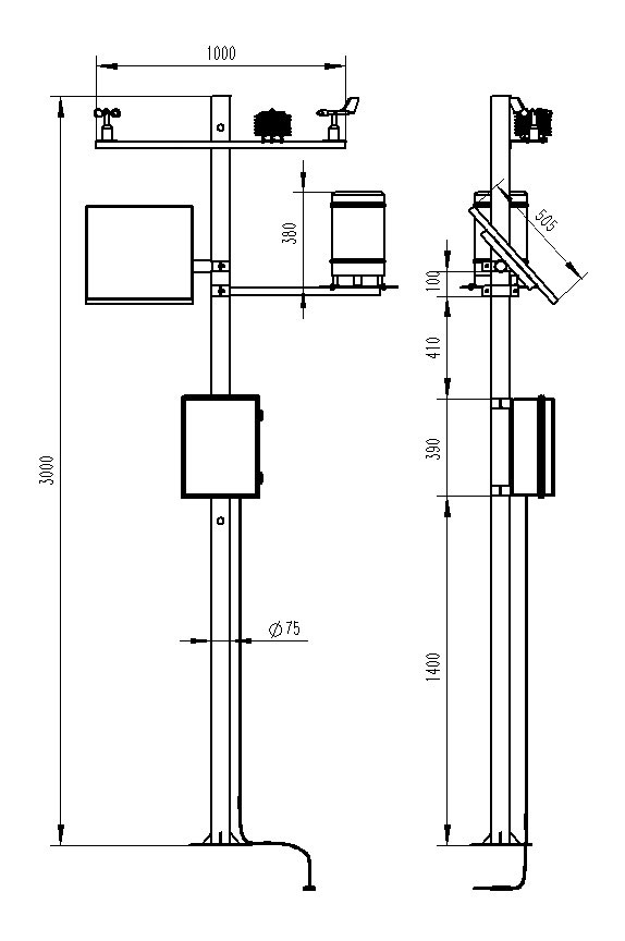
四、產品尺寸圖
五、產品結構圖
六、上位機軟件介紹
1、PC單機版數據接收、存儲、查看、分析軟件
2、支持串口數據接收、處理、展示
3、支持json字符串、modbus485等通信方式
4、可自設置存儲時間,modbus485采集模式下可自設置采集時間
5、支持自助增加、刪除、修改監測參數的協議、名稱、圖標等
6、支持數據后處理功能
7、支持外置運行javascript腳本
七、安卓APP介紹
1、安卓單機版數據接收、存儲、查看、分析軟件
2、支持藍牙數據接收
3、手機休眠后軟件后臺接收、處理
4、json數據自動添加設備,modbus設備支持掃碼添加設備
5、支持歷史數據查看、分析、導出表格,支持曲線展示、單數據點查看。
6、支持數據后處理功能
7、支持外置運行javascript腳本
八、云平臺介紹
1、CS架構軟件平臺,支持手機、PC瀏覽器直接觀測、無需額外安裝軟件。
2、支持多帳號、多設備登錄
3、支持實時數據展示與歷史數據展示儀表板
4、云服務器、云數據存儲,穩定可靠,易于擴展,負載均衡。
5、支持短信報警及閾值設置
6、支持地圖顯示、查看設備信息。
7、支持數據曲線分析
8、支持數據導出表格形式
9、支持數據轉發,HJ-212協議,TCP轉發,http協議等。
10、支持數據后處理功能
11、支持外置運行javascript腳本
而新一代WX-NJD50能見度觀測儀通過激光散射、圖像識別等技術的融合,實現了對50km范圍內能見度的動態感知。它像一雙“電子眼”,既能捕捉遠處逐漸逼近的霧團,也能監測近處因灑水車作業導致的臨時能見度下降,為交通管理部門提供更全面、更及時的決策依據。在高速公路的運營中,能見度觀測儀的作用貫穿于“預警-管控-恢復”的全流程。···
WX-TZSQ30土壤水分觀測系統是一款集成土壤水分含量和土壤溫度監測的設備,幫助種植戶及時測定墑情和掌握土壤墑情變化,有利于控制作物需水情況,為農事活動提供精準的決策依據。具有功耗低、安裝方便、多參數自由組合、全天候實時測量等特點。安裝和維護相對簡單,不需要復雜的操作和專業技術,可以擴展配置土壤電導率、土壤PH、空氣溫度、空氣濕度、太陽輻射、雨量等氣象傳感器,···
WX-GQX8高速公路氣象站對提升交通安全具有不可忽視的作用。氣象條件是影響交通安全的重要因素之一,如大霧、暴雨、冰雪等惡劣天氣條件極易引發交通事故。通過安裝氣象站,可以實時監測高速公路沿線的能見度、路面溫度、濕度等關鍵氣象要素,一旦發現異常氣象條件,立即啟動預警機制,通過廣播、短信等方式及時向駕駛員發布預警信息,提醒他們注意安全,采取必要的防范措施。···
自然水系中,河道不僅是水資源的載體,更是生態平衡的關鍵。為了科學高效地管理這些寶貴的水資源,現代科技推出了WX-SW3河道流量監測系統,其中三合一流量計與雨量監測站的結合,更是為河道監測提供了全面、實時的數據支持。三合一流量計,作為河道流量監測系統的核心設備,集水位、流速和流量測量于一體,實現了對河道水情的全方位監測。它利用先進的雷達技術,通過非接觸式測量方式,精確捕捉水位變化和流速數據。···
WX-GTS6六層管式土壤墑情監測站通過在不同深度的土壤中設置傳感器,能夠實時監測土壤的溫度、水分、電導率等多個關鍵指標。這種多層次、全方位的監測方式,使得數據更加全面、立體,為農業管理者提供了更為精準的土壤信息。相較于傳統的人工監測方法,六層管式土壤墑情監測站不僅提高了監測效率,還確保了數據的準確性和實時性。···
WX-YJ1雨量實時監測系統還可以通過部署在關鍵區域的密集監測站點,構建起一張無死角的監測網絡。就是說無論是繁華都市的高樓大廈間,還是偏遠鄉村的田間地頭,都能被精準捕捉,確保每一寸土地上的雨情變化都逃不過系統的監測范圍。系統收集的海量數據經過大數據分析技術的處理,能夠揭示出雨量的時空分布規律、變化趨勢以及潛在的風險點,為防災減災規劃、優化資源配置也提供了科學依據,可以說一舉兩得。···